临淄区文化和旅游局

临淄区文化和旅游局政府信息公开指南

时间:2026-04-08

      临淄区文化和旅游局政府信息公开指南》(以下简称《指南》)由文化和旅游局根据《中华人民共和国政府信息公开条例》(国务院令第492号公布,国务院令第711号修订,以下简称《条例》)编制。需要获得本机关政府信息公开服务的公民、法人或者其他组织,建议阅读本《指南》。公民、法人或者其他组织可在临淄区人民政府网站(http://www.linzi.gov.cn/)查阅本指南。本指南根据需要及时更新。

一、主动公开政府信息

(一)公开范围(包含信息分类和编排体系)

1.机构职能

  主要包括:主要职能情况、机构领导及分工情况、内设机构及职能情况。

2.政策文件

主要包括:以本机关名义发布或者本机关作为主办部门与其他部门联合发布的规范性文件及其他行政文件;政策解读等。

3.规划计划

主要包括:国民经济和社会发展规划;本机关阶段性工作计划、工作重点安排等。

4.业务工作

主要包括:本机关各项行政许可的事项、依据、条件、数量、程序、期限以及申请行政许可需要提交的全部材料目录及办理情况;实施行政处罚、行政强制的依据、条件、程序以及本机关认为具有一定社会影响的行政处罚决定;重大行政决策事项的意见征集、结果反馈、执行效果评估情况;政府工作报告、年度重点工作、民生实事项目等重要部署执行情况;人大代表建议、政协委员提案办理结果;“双随机、一公开”监管信息。

5.统计数据

主要包括:本机关部门财政预算、决算报告。

6.其他

主要包括:《条例》第二十条规定本机关其他应该主动公开的政府信息。

(二)公开形式

1.临淄区人民政府网站(http://www.linzi.gov.cn/)。

2.《临淄区人民政府公报》

(1)《临淄区人民政府公报》线上查阅

可登录临淄区人民政府门户网站“政府公报”专栏(http://www.linzi.gov.cn/gongkai/channel_c_5f9f696d489871774b4da7ed_n_1605680376.4687/)查阅数字化政府公报,专栏提供了公报查询、下载和打印等功能。

(2)《临淄区人民政府公报》免费赠阅点(线下查阅)

赠阅点:区政务服务大厅,地址:山东省淄博市临淄区临淄大道971号

联系方式:0533-7177777,开放时间:8:30-12:00 13:30-17:00(工作日)

3.临淄发布(微信号:LZTV777)、临淄云APP(客户端下载链接:https://app.litenews.cn/download/M0RCQmx0ZWV0SEFHalErdFQxWkJVdz09)等其他互联网政务新媒体。

政务新媒体汇聚网址:http://www.linzi.gov.cn/gongkai/channel_618245d96005c619aac00358/

4.其他:报刊、广播、电视等。

同时,在区档案馆(地址:齐都文化城6号馆;查档电话:0533-7220710;开放时间:周一至周五8:30-17:00)等场所设置政府信息查阅点。服务内容:查询、复制、打印政府信息。

(三)公开时限

本机关主动公开的政府信息,自政府信息形成或者变更之日起20个工作日内及时公开。法律、法规对政府信息公开的期限另有规定的,从其规定。

二、依申请公开

公民、法人或者其他组织可以向本机关申请获取主动公开以外的政府信息。

本机关政府信息公开申请受理机构(见本《指南》第四条)负责受理公民、法人或者其他组织向本机关提出的政府信息公开申请。

(一)申请接收渠道

1.当面提交

申请人可到临淄区文化和旅游局办公室现场当面提交申请。

地址:山东省淄博市临淄区临淄大道108号齐文化博物院办公区。

办公时间:8:30-12:00,13:30-17:00(工作日)。

联系电话:0533-7216607

2.信函申请

申请人可通过邮政寄送方式向本机关提交申请。受理机构:临淄文化和旅游局办公室

来信请寄:山东省淄博市临淄区临淄大道108号齐文化博物院办公区临淄区文化和旅游办公室(收),同时须在信封左下角注明“政府信息公开申请”字样;邮政编码:255400。联系电话:0533-7216607

3.网上申请

临淄区人民政府网站(http://www.linzi.gov.cn/)开通有政府信息公开申请网上提交渠道,受理向本机关提交的政府信息公开申请。申请人可登录临淄区人民政府网站,在政务公开专栏“依申请公开”页面(http://www.linzi.gov.cn/jact/front/main.do?sysid=24),在线填写提交申请。

在线申请平台使用注意事项:(1)政府信息公开申请表应填写完整,联系电话、地址、信息获取方式要填写正确。(2)政府信息公开申请表内容应真实有效,同时申请人对申请材料的真实性负责。(3)依申请公开政府信息需提供有效身份证明。

本机关不受理通过电话方式提出的申请,但申请人可以通过电话咨询相应的服务业务。

(二)申请处理

本行政机关收到公民、法人或者其他组织提出的政府信息公开申请后,根据需要,可能会通过相应方式对申请人身份进行核对。

本行政机关收到申请后,将从形式上对申请的要件是否完备进行审查,对于要件不完备的申请予以退回,要求申请人补正信息。

对申请人提出的政府信息公开申请,本行政机关将根据不同情况分别作出答复。

本机关办理申请人政府信息公开申请时,能够当场答复的,将当场答复;不能当场答复的,自收到申请之日起20个工作日内予以答复;确需延长答复期限的,延长答复时间不超过20个工作日,并告知申请人。政府信息涉及第三方权益的,应当征求第三方的意见,征求第三方意见所需时间不计算在期限内。

本行政机关根据掌握该信息的实际状态进行提供,不对信息进行加工、统计、研究、分析或者其他处理。

(三)申请注意事项

1.申请获取政府信息,应当填写《临淄区政府信息公开申请表》,申请表可在本指南附件下载打印

2.申请表应准确载明申请人的姓名或者名称、身份证明、联系方式、获取政府信息的方式及其载体形式。所需政府信息内容描述应当指向明确,建议详尽提供所需政府信息的名称、文号或者便于行政机关查询的其他特征性描述。

3.当面申请的,应当出示有效身份证件;通过邮政寄送提交申请的,应随申请表附有效身份证件复印件;网上申请的,应上传有效身份证件扫描件或照片。

4.收费标准

本机关依申请提供政府信息,按照《国务院办公厅关于印发<政府信息公开信息处理费管理办法>的通知》(国办函〔2020109号)和《山东省人民政府办公厅关于做好政府信息公开信息处理费管理工作有关事项的通知》(鲁政办字〔2020179号)收取信息处理费。

三、不予公开

1.依法确定为国家秘密的政府信息,法律、行政法规禁止公开的政府信息,以及公开后可能危及国家安全、公共安全、经济安全、社会稳定的政府信息,不予公开。

2.涉及商业秘密、个人隐私等公开会对第三方合法权益造成损害的政府信息,本机关不予公开。但是,第三方同意公开或者本机关认为不公开会对公共利益造成重大影响的,予以公开。

3.本机关的内部事务信息,包括人事管理、后勤管理、内部工作流程等方面的信息不予公开。

4.本机关在履行行政管理职能过程中形成的讨论记录、过程稿、磋商信函、请示报告等过程性信息以及行政执法案卷信息,不予公开。法律、法规、规章规定上述信息应当公开的,从其规定。

四、政府信息公开工作机构

临淄区文化和旅游局政府信息公开工作机构和申请受理机构为:临淄区文化和旅游局办公室。

办公地址:山东省淄博市临淄区临淄大道108号齐文化博物院办公区

邮政编码:  255400           

办公时间:8:30-12:00,13:30-17:00(工作日)

联系电话:0533-7216607   

传真:0533-7216607

电子邮箱:lzqwlxj@zb.shandong.cn(此邮箱仅供沟通联系使用,不接受政府信息公开申请)

五、监督和救济

公民、法人或者其他组织认为本机关提供的与其自身相关的政府信息记录不准确的,可以向本机关提出更正申请,并提供证据材料。本机关将根据申请作出相应处理,并告知申请人。

公民、法人或者其他组织认为本机关在政府信息公开工作中侵犯其合法权益的,可以向上一级行政机关投诉、举报,也可以依法申请行政复议或者提起行政诉讼。

    政府信息公开投诉、举报受理机构为:临淄区人民政府办公室政务公开办

  办公地址:临淄区广场路1号

  邮政编码:255400

  办公时间:8:30-12:00 13:30-17:00(工作日)

  联系电话:0533-7212036

  

       行政复议受理机构:临淄区政府行政复议办公室

       办公地址:临淄区牛山路9号

       办公时间:8:30-12:00  13:30-17:00(工作日)

       邮政编码:255400

       联系电话:0533-7221314     

 

       行政诉讼受理机构:临淄区人民法院 

       办公地址:临淄区桓公路113号 

       办公时间:8:30-12:00  13:30-17:00(工作日)

       邮政编码:255400

       联系电话:0533-7181802

       附件:1.临淄区政府信息公开申请表.doc

                 2.政府信息公开申请办理流程图.doc

                 

 

临淄区文化和旅游局2025年政府信息公开工作年度报告

时间:2026-01-16

本年度报告中所列数据的统计期限自2025年1月1日起,至2025年12月31日止。如对报告内容有疑问,请与临淄区文化和旅游局联系(地址:临淄大道308号齐文化博物院办公区403室;邮编:255400;电话:0533-7216607;电子邮箱:lzqwlxj@zb.shandong.cn)。

一、总体情况

2025年临淄区文化和旅游局深入贯彻落实《中华人民共和国政府信息公开条例》,严格按照国务院办公厅相关信息公开制度及省市区有关信息公开的工作要求,规范公开信息,加强信息管理,提高公开水平。

(一)主动公开方面。2025年,区文旅局通过临淄区人民政府网站主动公开政府信息71条,其中业务工作2条,机构职能4条,规划计划1条,政府信息公开指南1条,公共文化服务34条,财政信息4条,管理和公开服务13条,公共监管5条,政府信息公开年度报告1条,基层政务公开标准化目录1条,主动公开基本目录1条,政务公开保障机制3条,政府信息公开制度1条。

(二)依申请公开工作方面。2025年我局通过政府平台收到政府信息公开申请1件。根据依申请公开要求,于11月20日完成接收并通过电子邮件的方式完成答复。

(三)政府信息管理方面。一是规范政府信息公开管理。明确各科室职责分工,由局办公室牵头调度,各科室及下属单位配合完成。明确专人负责,责任到人,进一步规范信息公开管理。二是加强政府信息公开审核。根据职责分工,各科室提交发布内容,由办公室统一上传平台。严格审核主动公开内容包含涉密信息和敏感词汇,出现问题立即整改,确保公开信息准确无误。

(四)平台建设方面。一是在平台专栏设置方面,主要涉及A级景区、文化活动、文化产业、文化旅游市场、非遗等文化旅游领域内容,经各业务科室提交统一在平台主动公开,确保信息的时效性、准确性。二是充分发挥“临淄文旅”微信公众号的作用,扩大信息覆盖面,进一步扩大群众对信息的知晓率。

(五)监督保障方面。3月份,区文旅局制定政务公开培训年度计划,6月份,组织工作人员业务能力年度培训,在培训期间总结汇报了上年度和本年度上半年信息公开情况,及时传达中央、省、市、区政务公开工作相关文件要求,了解掌握公开职责、流程等内容。通过集中培训,增强全体人员思想意识,提高机关工作人员业务能力和水平。

二、主动公开政府信息情况

第二十条第(一)项

信息内容

本年制发件数

本年废止件数

现行有效件数

规章

0

0

0

行政规范性文件

0

0

0

第二十条第(五)项

信息内容

本年处理决定数量

行政许可

0

第二十条第(六)项

信息内容

本年处理决定数量

行政处罚

6

行政强制

0

第二十条第(八)项

信息内容

本年收费金额(单位:万元)

行政事业性收费

0

三、收到和处理政府信息公开申请情况

(本列数据的勾稽关系为:第一项加第二项之和,等于第三项加第四项之和)

申请人情况

自然人

法人或其他组织

总计

商业企业

科研机构

社会公益组织

法律服务机构

其他

一、本年新收政府信息公开申请数量

1

0

0

0

0

0

1

二、上年结转政府信息公开申请数量

0

0

0

0

0

0

0

三、本年度办理结果

(一)予以公开

1

0

0

0

0

0

1

(二)部分公开(区分处理的,只计这一情形,不计其他情形)

0

0

0

0

0

0

0

(三)不予公开

1.属于国家秘密

0

0

0

0

0

0

0

2.其他法律行政法规禁止公开

0

0

0

0

0

0

0

3.危及三安全一稳定

0

0

0

0

0

0

0

4.保护第三方合法权益

0

0

0

0

0

0

0

5.属于三类内部事务信息

0

0

0

0

0

0

0

6.属于四类过程性信息

0

0

0

0

0

0

0

7.属于行政执法案卷

0

0

0

0

0

0

0

8.属于行政查询事项

0

0

0

0

0

0

0

(四)无法提供

1.本机关不掌握相关政府信息

0

0

0

0

0

0

0

2.没有现成信息需要另行制作

0

0

0

0

0

0

0

3.补正后申请内容仍不明确

0

0

0

0

0

0

0

(五)不予处理

1.信访举报投诉类申请

0

0

0

0

0

0

0

2.重复申请

0

0

0

0

0

0

0

3.要求提供公开出版物

0

0

0

0

0

0

0

4.无正当理由大量反复申请

0

0

0

0

0

0

0

5.要求行政机关确认或重新出具已获取信息

0

0

0

0

0

0

0

(六)其他处理

1.申请人无正当理由逾期不补正、行政机关不再处理其政府信息公开申请

0

0

0

0

0

0

0

2.申请人逾期未按收费通知要求缴纳费用、行政机关不再处理其政府信息公开申请

0

0

0

0

0

0

0

3.其他

0

0

0

0

0

0

0

(七)总计

1

0

0

0

0

0

1

四、结转下年度继续办理

0

0

0

0

0

0

0

 

四、政府信息公开行政复议、行政诉讼情况

行政复议

行政诉讼

结果

维持

结果纠正

其他结果

尚未

审结

未经复议直接起诉

复议后起诉

结果维持

结果纠正

其他

结果

尚未

审结

总计

结果维持

结果

纠正

其他

结果

尚未审结

总计

0

0

0

0

0

0

0

0

0

0

0

0

0

0

0

五、存在的主要问题及改进情况

(一)存在问题

年度主动公开稿件较少,公开内容不及时,提交内容审核不够仔细,出现的错字错词较多。

(二)改进情况

通过组织集体培训会、工作会等方式,定期对政府信息平台公开情况进行总结汇报,强化思想意识,加强组织管理。明确专人负责,严格审核,对于出现的问题及时传达到位,确保公开内容的保密性和正确性。

六、其他需要报告的事项

(一)2025年区文化和旅游局无收取信息处理费情况。

(二)本年度共办理人大代表建议答复12件,政协提案答27件,办复率均为100%。

(三)责任明确到人,职责分工明确,制定年度计划,定期组织业务能力培训。充分发挥好新媒体作用,结合“临淄文旅”微信公众号,扩大文化和旅游领域信息的宣传范围和覆盖面。

(四)落实上级年度政务公开工作要点情况。本年度,我单位严格落实《2025年临淄区政务公开工作要点》,公共文化服务提质,新改建设施、举办活动1900余场;文旅融合纵深,8个项目投资7.62亿元;旅游活力激发,A级景区接待游客151万人次;市场监管有序,整改隐患85项;文化“双创”加速,非遗传承、研学及数字化成果丰硕。

临淄区文化和旅游局2024年政府信息公开工作年度报告

时间:2025-01-20

本年度报告中所列数据的统计期限自2024年1月1日起,至2024年12月31日止。如对报告内容有疑问,请与临淄区文化和旅游局联系(地址:临淄大道308号齐文化博物院办公区403室;邮编:255400;电话:7216607;电子邮箱:lzqwlxj@zb.shandong.cn)

一、总体情况

 2024年,临淄区文化和旅游局严格按照国务院办公厅相关信息公开制度及省市区有关信息公开的工作要求,严格规范政府信息公开内容,突出政府信息公开重点,提高政府信息公开水平。

(一)主动公开方面。2024年,通过临淄区人民政府门户网站累计主动公开政府信息77条,其中业务工作1条、机构职能4条、计划规划1条、政府信息公开指南1条、法规公文1条、部门会议1条、公共文化服务36条、财政信息4条、管理和服务公开信息12条、公共监管6条、政府信息公开年度报告1条、基层政务公开标准化目录1条、主动公开基本目录1条、政府公开保障机制3条、政府信息公开制度4条。

(二)依申请公开工作方面。2024年我局通过政府平台收到政府信息公开申请0件。

(三)政府信息管理方面。一是明确专人负责。由局办公室具体负责,各科室及下属单位配合完成。局办公室具体负责政府信息公开内容编辑发布等工作,各科室及下属单位及时将需公开信息发送局办公室,经审核后在平台发布。二是规范管理工作。明确各科室职责,将政府信息公开的目标任务分解到相关科室和责任人。三是加强信息审核工作。各科室初步审核,报局办公室后再次审核信息公开内容。重点审查涉密信息和敏感词汇,确保公开内容的时效性和准确性

(四)平台建设方面。2024年6月,组织文旅系统政务公开工作培训班,汇报了上半年信息公开发布情况,全体人员集体学习了政府信息公开相关制度,进一步明确了局机关及下属单位在信息公开工作中的各项职责。通过培训班,规范了文旅系统信息公开工作的流程和规章制度,加强了公开内容的准确性。充分发挥好信息公开平台的作用,广泛宣传文化和旅游工作,扩大信息的知晓率。

(五)监督保障方面。由局办公室统一协调,对于上报公开的信息,明确到责任科室,重点对文旅活动、文化产业、安全生产、市场推广等事项审核。落实责任追究制度,对于出现的问题责任到人,及时整改落实到位,确保公开的信息准确无误。

二、主动公开政府信息情况

第二十条第(一)项

信息内容

本年制发件数

本年废止件数

现行有效件数

规章

0

0

0

行政规范性文件

0

0

0

第二十条第(五)项

信息内容

本年处理决定数量

行政许可

0

第二十条第(六)项

信息内容

本年处理决定数量

行政处罚

10

行政强制

0

第二十条第(八)项

信息内容

本年收费金额(单位:万元)

行政事业性收费

0

 

        三、收到和处理政府信息公开申请情况

(本列数据的勾稽关系为:第一项加第二项之和,

等于第三项加第四项之和)

申请人情况

自然人

法人或其他组织

总计

商业企业

科研机构

社会公益组织

法律服务机构

其他

一、本年新收政府信息公开申请数量

0

0

0

0

0

0

0

二、上年结转政府信息公开申请数量

0

0

0

0

0

0

0

三、本年度办理结果

(一)予以公开

0

0

0

0

0

0

0

(二)部分公开(区分处理的,只计这一情形,不计其他情形)

0

0

0

0

0

0

0

(三)不予公开

1.属于国家秘密

0

0

0

0

0

0

0

2.其他法律行政法规禁止公开

0

0

0

0

0

0

0

3.危及“三安全一稳定”

0

0

0

0

0

0

0

4.保护第三方合法权益

0

0

0

0

0

0

0

5.属于三类内部事务信息

0

0

0

0

0

0

0

6.属于四类过程性信息

0

0

0

0

0

0

0

7.属于行政执法案卷

0

0

0

0

0

0

0

8.属于行政查询事项

0

0

0

0

0

0

0

(四)无法提供

1.本机关不掌握相关政府信息

0

0

0

0

0

0

0

2.没有现成信息需要另行制作

0

0

0

0

0

0

0

3.补正后申请内容仍不明确

0

0

0

0

0

0

0

(五)不予处理

1.信访举报投诉类申请

0

0

0

0

0

0

0

2.重复申请

0

0

0

0

0

0

0

3.要求提供公开出版物

0

0

0

0

0

0

0

4.无正当理由大量反复申请

0

0

0

0

0

0

0

5.要求行政机关确认或重新

出具已获取信息

0

0

0

0

0

0

0

(六)其他处理

1.申请人无正当理由逾期不补正、行政机关不再处理其政府信息公开申请

0

0

0

0

0

0

0

2.申请人逾期未按收费通知要求缴纳费用、行政机关不再处理其政府信息公开申请

0

0

0

0

0

0

0

3.其他

0

0

0

0

0

0

0

(七)总计

0

0

0

0

0

0

0

四、结转下年度继续办理

0

0

0

0

0

0

0

四、政府信息公开行政复议、行政诉讼情况

行政复议

行政诉讼

结果

维持

结果纠正

其他结果

尚未

审结

未经复议直接起诉

复议后起诉

结果维持

结果纠正

其他

结果

尚未

审结

总计

结果维持

结果

纠正

其他

结果

尚未审结

总计

0

0

0

0

0

0

0

0

0

0

0

0

0

0

0

 

五、存在的主要问题及改进情况

1.存在问题。信息公开不及时,公开稿件数量较少。内容简单,创新力度不够。

2.改进情况。一是落实信息公开制度。组织培训班,及时传达并落实国家以及省市区关于政府信息公开工作的相关文件。二是创新工作管理模式。通过与各科室协作配合做好信息公开工作。定期汇报政府信息公开平台发布情况,调动各科室的供稿积极性。

六、其他需要报告的事项

一是2024年区文化和旅游局无收取信息处理费情况。

二是本年度共办理人大代表建议答复5件,政协提案答14件,办复率均为100%。

三是年度工作要点落实情况。加强与各科室的配合,主动向社会公开文化和旅游领域相关的政策、文件、制度以及文化活动等方面信息。务必做好公开信息的监督管理,做到信息真实、准确。

四是年度政务公开工作创新情况。在管理模式方面,本着规范化、制度化的原则,与各科室积极配合。充分发挥好新媒体作用,结合微信公众号,及时发布群众密切关注的文旅信息,扩大信息宣传范围,提高知晓率。

临淄区文化和旅游局 2023年政府信息公开工作年度报告

时间:2024-01-30

本报告按照《国务院办公厅政府信息与政务公开办公室关于印发<中华人民共和国政府信息公开工作年度报告格式>的通知》(国办公开办函〔202130号)和《中华人民共和国政府信息公开条例》要求编制,全文包括总体情况、主动公开政府信息情况、收到和处理政府信息公开申请情况、政府信息公开行政复议及行政诉讼情况、政府信息公开工作存在的主要问题及改进情况、其他需要报告的事项。本年度报告中所列数据统计期限从20231月1日到12月31日止。如对报告内容有疑问,请与临淄区文化和旅游局联系(地址:临淄大道308号齐文化博物院办公区403室;邮编:255400;电话:7216607;电子邮箱:lzqwlxj@zb.shandong.cn)

一、总体情况

2023临淄区文化和旅游局紧密结合文旅工作,不断规范政府信息公开内容,创新政府信息公开形式,突出政府信息公开重点,提高政府信息公开水平。严格按照《中华人民共和国政府信息公开条例》及省市区有关信息公开的工作要求,结合我局实际,本着公开、全面、准确、及时的原则,大力推进政府信息公开工作,充分发挥政府信息的服务和监督作用。

(一)主动公开信息情况2023,通过临淄区人民政府门户网站累计主动公开政府信息54条,其中业务工作6条、机构职能3条、计划规划1条、政府信息公开指南1条、公共文化服务17条、财政信息4条、管理和服务公开信息13条、公共监管8条、政府信息公开年度报告1条

(二)依申请公开工作情况。2023年我局通过政府平台收到政府信息公开申请0件。

(三)政府信息管理情况。一是强化信息公开组织领导。将政府信息公开纳入年度工作要点,列入我局重要议事议程,明确各科室工作责任,由局办公室统筹协调,明确专人具体负责政府信息公开内容编辑发布等工作,相关业务科室密切配合,使政务公开工作与日常业务工作同步推进。二是建立健全信息公开工作机制。调整了《政府信息主动公开基本目录》,将政府信息公开的目标任务分解到相关科室和责任人,形成了分工明确、协调一致、责任落实的工作机制。三是严密组织开展政务公开。除依法需要保密的外,及时公布和回应群众关切的事项,不断丰富和完善政府信息公开内容。确保政务公开工作制度化、规范化。

(四)政府信息公开平台建设情况。为有效推进政府信息公开工作,要求机关全体人员认真学习《中华人民共和国政府信息公开条例》,进一步明确了政府信息公开的职责、程序、公开方式和时限要求,严格执行保密制度及责任追究制度,不断提升政府信息公开工作业务水平。积极发挥政务新媒体宣传作用,通过“临淄文旅”微信公众号,进一步扩大政务信息公开的范围和影响力。

(五)政府信息公开监督保障情况。我局认真落实信息发布监督保障机制,健全信息公开流程,加强日常监督检查严把信息发布审核关口,对发布的信息严格进行敏感词汇和意识形态把关,确保政治思想和宣传舆论导向正确。对于出现的问题及时整改落实到位,对于重点公共文化、文化产业、市场推广等事项的内容,均进行了发布,使信息公开工作朝着全面化、制度化、规范化方向有序推进。

二、主动公开政府信息情况

第二十条 第 (一) 项

信息内容

本年制发件数

本年废止件数

现行有效件数

规章

0

0

0

行政规范性文件

0

0

0

第二十条 第 (五) 项

信息内容

本年处理决定数量

行政许可

0

第二十条 第 (六) 项

信息内容

本年处理决定数量

行政处罚

12

行政强制

0

第二十条 第 (八) 项

信息内容

本年收费金额  (单位 :万元)

行政事业性收费

0

三、收到和处理政府信息公开申请情况

(本列数据的勾稽关系为:第一项加第二项之和,等于第三项加第四项之和)

申请人情况

自然人

法人或其他组织

总计

商业企业

科研机构

社会公益组织

法律服务机构

其他

一、本年新收政府信息公开申请数量

0

0

0

0

0

0

0

二、上年结转政府信息公开申请数量

0

0

0

0

0

0

0

三、本年度办理结果

(一)予以公开

0

0

0

0

0

0

0

(二)部分公开(区分处理的,只计这一情形,不计其他情形)

0

0

0

0

0

0

0

(三)不予公开

1.属于国家秘密

0

0

0

0

0

0

0

2.其他法律行政法规禁止公开

0

0

0

0

0

0

0

3.危及“三安全一稳定”

0

0

0

0

0

0

0

4.保护第三方合法权益

0

0

0

0

0

0

0

5.属于三类内部事务信息

0

0

0

0

0

0

0

6.属于四类过程性信息

0

0

0

0

0

0

0

7.属于行政执法案卷

0

0

0

0

0

0

0

8.属于行政查询事项

0

0

0

0

0

0

0

(四)无法提供

1.本机关不掌握相关政府信息

0

0

0

0

0

0

0

2.没有现成信息需要另行制作

0

0

0

0

0

0

0

3.补正后申请内容仍不明确

0

0

0

0

0

0

0

(五)不予处理

1.信访举报投诉类申请

0

0

0

0

0

0

0

2.重复申请

0

0

0

0

0

0

0

3.要求提供公开出版物

0

0

0

0

0

0

0

4.无正当理由大量反复申请

0

0

0

0

0

0

0

5.要求行政机关确认或重新出具已获取信息

0

0

0

0

0

0

0

(六)其他处理

1.申请人无正当理由逾期不补正、行政机关不再处理其政府信息公开申请

0

0

0

0

0

0

0

2.申请人逾期未按收费通知 要求缴纳费用、行政机关不再处理其政府信息公开申请

0

0

0

0

0

0

0

3.其他

0

0

0

0

0

0

0

(七)总计

0

0

0

0

0

0

0

四、结转下年度继续办理

0

0

0

0

0

0

0

 

四、政府信息公开行政复议、行政诉讼情况

行政复议

行政诉讼

结果维持

结果纠正

其他结果

尚未审结

总计

未经复议直接起诉

复议后起诉

结果维持

结果纠正

其他结果

尚未审结

总计

结果维持

结果纠正

其他结果

尚未审结

总计

0

0

0

0

0

0

0

0

0

0

0

0

0

0

0

 

五、存在的主要问题及改进情况

(一)存在的问题。2023年度我单位政府信息公开工作存在问题较多。一是政务信息人员责任意识需进一步提升,工作业务能力有待加强;二是信息公开形式内容需进一步细化深化,突出发布信息重点;三是投稿数量少,政务公开平台的问题整改不及时

(二)改进情况。一是加强组织领导、强化教育培训。加强政务公开人员队伍建设,组织开展多种形式的业务培训,积极组织相关人员参加政务公开培训,提升政务公开工作人员的责任意识和业务水平。二是规范政务公开工作机制。进一步加强机制建设,梳理本局政务公开工作信息,突出公开重点内容,及时发布跟人民群众密切相关的政务信息。三是提升政务公开规范化水平。进一步完善体制机制,规范政务信息公开流程,按时公开信息,及时整改,加强政府信息的及时性和有效性,进一步提升群众对文化和旅游工作的满意度。

六、其他需要报告的事项

(一)收取信息处理费情况。2023,区文化和旅游局无收取信息处理费情况。

(二)2023文化和旅游共办理人大代表建议答复2件、政协提案答复15件,办复率均为100%

(三)年度工作要点落实情况。健全工作机制,明确专人负责和相关科室协作配合。做好政府信息公开工作,及时调整并主动向社会发布机构职能、规范性文件、文化服务、部门会议等方面信息。加强政务公开信息的标准化和规范化,确保信息的真实性和准确性,有序推进政府信息公开工作。

(四)年度政务公开工作创新情况。2023,区文化和旅游局政务公开工作无创新举措。

 

 

 

临淄区文化和旅游局2022年政府信息公开工作年度报告

时间:2023-01-28

本报告按照《国务院办公厅政府信息与政务公开办公室关于印发<中华人民共和国政府信息公开工作年度报告格式>的通知》(国办公开办函〔202130号)和《中华人民共和国政府信息公开条例》要求编制,全文包括总体情况、主动公开政府信息情况、收到和处理政府信息公开申请情况、政府信息公开行政复议及行政诉讼情况、政府信息公开工作存在的主要问题及改进情况、其他需要报告的事项。本年度报告中所列数据的统计期限自2022年1月1日起,至2022年12月31日止。如对报告内容有疑问,请与淄博市临淄区文化和旅游局联系(地址:临淄大道308号齐文化博物馆办公区403室;邮编:255400;电话:0533-7216607;邮箱:lzqwlxj@zb.shandong.cn)。

一、总体情况

2022年,临淄区文化和旅游局坚持以习近平新时代中国特色社会主义思想为指导,认真落实国家和省市政务公开工作部署,深入推进公共文化服务、旅游、广播电视、新闻出版版权等领域信息公开,扎实做好各项政府信息公开工作,业务水平不断提升,工作质量持续提高

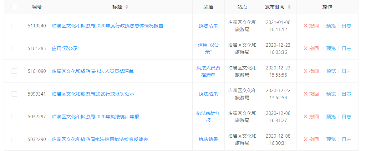
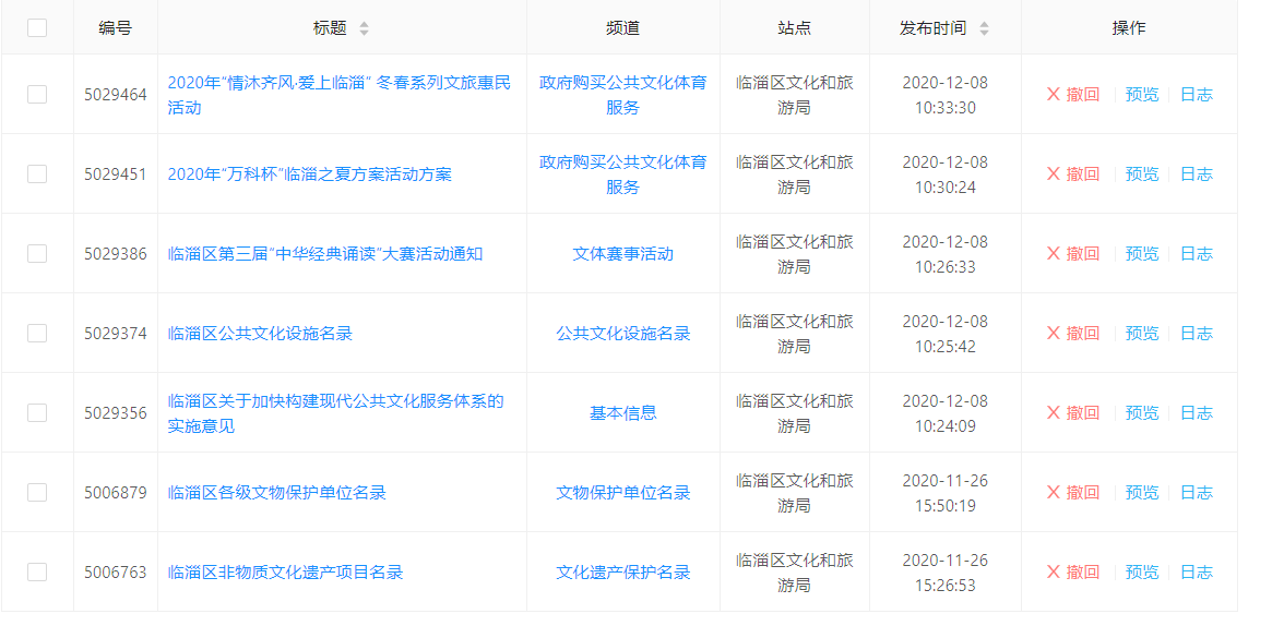
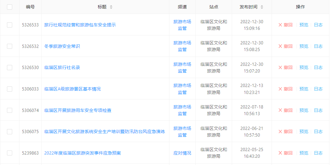
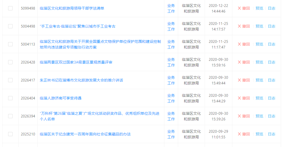
(一)主动公开。2022年,通过临淄区人民政府门户网站累计主动公开政府信息124条,其中业务工作1条、政务公开培训2条、机构职能4条、计划规划1条、政府信息公开指南1条、部门会议1条、公共资源配置1条、公共文化服务86条、财政信息5条、管理和服务公开信息8条、公共监管8条、基层政务公开标准化目录4条、主动公开基本目录1条、政务公开保障机制2条。(以下为部分主动公开信息截图。)

 

1.机构职能信息截图

 

2.公共监管信息截图

 

3.公共文化服务信息截图

(二)依申请公开。2022年我局通过政府平台收到自然人关于本单位政府信息公开申请1件且已办结,办结率100%。

(三)政府信息管理。局领导对政府信息公开工作高度重视,多次开会听取政务公开工作情况汇报,安排专人负责政务公开。2022年,修改完善了《基层政务公开标准化目录》,进一步细化了各单位政务公开工作任务,明确公开时限和要求,确保政务公开工作制度化、规范化。严格执行政府信息公开保密审查制度,规范网站信息发布流程。

(四)政府信息公开平台建设。按照我区集中统一部署,认真做好新门户网站维护工作,及时更新政务公开相关栏目和政府信息公开目录,确保政务公开规范运行。积极运用新媒体平台,通过“临淄文旅”微信公众号,使我局信息公开方式更加多样,提升了公开信息的传播广度。

 

4.临淄文旅公众号截图

(五)监督保障。加强组织领导,根据人事变动和工作需要,对政务公开领导小组进行调整,由分管负责同志担任组长。明确办公室作为政务公开工作机构,优化人员配备,配备专职人员2人,兼职人员下沉到具体业务科室,推进业务信息公开。制定《临淄区文化和旅游局2022年政务公开工作培训计划》,明确培训内容,2022年共开展培训1次,有效推动政务公开工作规范有序开展。

二、主动公开政府信息情况

 

第二十条 (一 

信息内容

本年制发件数

本年废止件数

现行有效件数

规章

0

0

0

行政规范性文件

0

0

0

第二十条 (五 

信息内容

本年处理决定数量

行政许可

0

第二十条 (六 

信息内容

本年处理决定数量

行政处罚

20

行政强制

0

第二十条 (八)

信息内容

本年收费金额  (单位 :万元

行政事业性收费

0

 

三、收到和处理政府信息公开申请情况

(本列数据的勾稽关系为:第一项加第二项之和,等于第三项加第四项之和)

申请人情况

自然人

法人或其他组织

总计

商业企业

科研机构

社会公益组织

法律服务机构

其他

一、本年新收政府信息公开申请数量

1

0

0

0

0

0

1

二、上年结转政府信息公开申请数量

0

0

0

0

0

0

0

三、本年度办理结果

(一)予以公开

1

0

0

0

0

0

1

(二)部分公开(区分处理的,只计这一情形,不计其他情形)

0

0

0

0

0

0

0

(三)不予公开

1.属于国家秘密

0

0

0

0

0

0

0

2.其他法律行政法规禁止公开

0

0

0

0

0

0

0

3.危及“三安全一稳定”

0

0

0

0

0

0

0

4.保护第三方合法权益

0

0

0

0

0

0

0

5.属于三类内部事务信息

0

0

0

0

0

0

0

6.属于四类过程性信息

0

0

0

0

0

0

0

7.属于行政执法案卷

0

0

0

0

0

0

0

8.属于行政查询事项

0

0

0

0

0

0

0

(四)无法提供

1.本机关不掌握相关政府信息

0

0

0

0

0

0

0

2.没有现成信息需要另行制作

0

0

0

0

0

0

0

3.补正后申请内容仍不明确

0

0

0

0

0

0

0

(五)不予处理

1.信访举报投诉类申请

0

0

0

0

0

0

0

2.重复申请

0

0

0

0

0

0

0

3.要求提供公开出版物

0

0

0

0

0

0

0

4.无正当理由大量反复申请

0

0

0

0

0

0

0

5.要求行政机关确认或重新出具已获取信息

0

0

0

0

0

0

0

(六)其他处理

1.申请人无正当理由逾期不补正、行政机关不再处理其政府信息公开申请

0

0

0

0

0

0

0

2.申请人逾期未按收费通知 要求缴纳费用、行政机关不再处理其政府信息公开申请

0

0

0

0

0

0

0

3.其他

0

0

0

0

0

0

0

(七)总计

1

0

0

0

0

0

1

四、结转下年度继续办理

0

0

0

0

0

0

0

 

四、政府信息公开行政复议、行政诉讼情况

行政复议

行政诉讼

结果维持

结果纠正

其他结果

尚未审结

总计

未经复议直接起诉

复议后起诉

结果维持

结果纠正

其他结果

尚未审结

总计

结果维持

结果纠正

其他结果

尚未审结

总计

0

0

0

0

0

0

0

0

0

0

0

0

0

0

0

 

五、存在的主要问题及改进情况

我单位的政府信息公开工作存在问题较多。一是新增公共监管栏目下的旅游市场监管,公开的相关内容标准不高,各类风险提示信息公开时效性不强;二是公共文化服务活动公开不及时;三是执法信息公开标准不高,未做到与“双随机、一公开”平台同步

下一步,区文化和旅游局将加强信息公开工作队伍建设,明确制度,压实责任,按照省、市、区要求严格落实相关规定,进一步充实完善政府信息公开内容,确保政府信息公开工作落到实处。一是督促相关科室高标准提报重点领域公开信息;二是加强旅游市场监管日常工作与信息公开同步;三是向其他区县学习执法公开相关内容,提高政务公开标准

六、其他需要报告的事项

(一)收取信息处理费情况。2022年,区文化和旅游局无收取信息处理费情况。

(二)2022年文化和旅游共办理人大代表建议答复5件、政协提案答复14件,办复率均为100%

(三)落实年度政务公开工作要点情况。严格落实上级政务公开工作要点,根据文化旅游领域公开目录要求,深入推进公共文化服务、旅游、广播电视、新闻出版版权等领域信息公开工作,重点公开了政府购买群众文化活动、公共文化场馆开放信息A级旅游景区名录、旅行社名录、提示警示、应急预案、文化旅游宣传等方面的内容。

 

 

 

临淄区文化和旅游局  

20231月28   

 

临淄区文化和旅游局2021年政府信息公开工作年度报告

时间:2022-01-14

本报告按照《国务院办公厅政府信息与政务公开办公室关于印发<中华人民共和国政府信息公开工作年度报告格式>的通知》(国办公开办函〔202130号)和《中华人民共和国政府信息公开条例》要求编制,全文包括总体情况、主动公开政府信息情况、收到和处理政府信息公开申请情况、政府信息公开行政复议及行政诉讼情况、政府信息公开工作存在的主要问题及改进情况、其他需要报告的事项。本年度报告中所列数据统计期限从20211月1日到12月31日止。

    一、总体情况

2021年,临淄区文化和旅游局严格按照《中华人民共和国政府信息公开条例》和省市区有关信息公开的工作要求,不断丰富政府信息公开内容,加大政府信息公开力度,完善政府信息公开机制,着力推进信息公开工作落地落实,保障人民群众知情权、参与权、表达权和监督权,并取得了一定成效。

(一)主动公开。2021年,通过临淄区人民政府门户网站累计主动公开政府信息38条,其中业务工作3条、政务公开培训2条、机构职能5条、政府信息公开指南1条、法规公文1条、部门会议5条、政策解读1条、意见征集和结果反馈1条、重大建设项目1条、公共文化体育3条、重要部署执行公开3条、财政信息7条、管理和服务公开信息3条、主动公开基本目录1条、政务公开保障机制2条。(以下为部分主动公开信息截图。)

 

1.机构职能信息截图

 

2.财政信息信息截图

 

3.部门会议信息截图

(二)依申请公开。严格办理程序,做好网上申请受理,按时进行规范性答复。截至目前,区文化和旅游局依申请公开政府信息和不予公开政府信息条数为0。

(三)政府信息管理。局领导对政府信息公开工作高度重视,多次开会听取政务公开工作情况汇报,安排专人负责政务公开。2021年,修改完善了《主动公开基本目录》,进一步细化了各单位政务公开工作任务,明确公开时限和要求,确保政务公开工作制度化、规范化。

(四)政府信息公开平台建设。按照我区集中统一部署,认真做好新门户网站维护工作,及时更新政务公开相关栏目和政府信息公开目录,确保政务公开规范运行。积极运用新媒体平台,通过“临淄文旅”微信公众号,使我局信息公开方式更加多样,提升了公开信息的传播广度。

 

4.临淄文旅公众号截图

(五)监督保障。一是加强组织领导。明确此项工作由主要领导负总责,分管领导主抓,由局办公室负责牵头统筹,所属事业单位、局机关各科室按职责分别负责,严格按照“谁主管、谁公开、谁负责”的原则开展信息公开工作,确保政务公开工作有序开展。二是严格监督保障。明确政务信息公开范围、内容、时限和流程等,严格规范政府信息公开的保密审查和公开属性的确定程序,层层把关审核信息发布内容,提升工作的规范程度,确保政务公开工作有章可循,有制可依,严格按制度办事,使信息公开工作朝着制度化、规范化方向有序推进。

二、主动公开政府信息情况

 

第二十条 (一 

信息内容

本年制发件数

本年废止件数

现行有效件数

规章

0

0

0

行政规范性文件

0

0

0

第二十条 (五 

信息内容

本年处理决定数量

行政许可

0

第二十条 (六 

信息内容

本年处理决定数量

行政处罚

25

行政强制

0

第二十条 (八) 项

信息内容

本年收费金额  (单位 :万元

行政事业性收费

0

 

三、收到和处理政府信息公开申请情况

(本列数据的勾稽关系为:第一项加第二项之和,等于第三项加第四项之和)

申请人情况

自然人

法人或其他组织

总计

商业企业

科研机构

社会公益组织

法律服务机构

其他

一、本年新收政府信息公开申请数量

0

0

0

0

0

0

0

二、上年结转政府信息公开申请数量

0

0

0

0

0

0

0

三、本年度办理结果

(一)予以公开

0

0

0

0

0

0

0

(二)部分公开(区分处理的,只计这一情形,不计其他情形)

0

0

0

0

0

0

0

(三)不予公开

1.属于国家秘密

0

0

0

0

0

0

0

2.其他法律行政法规禁止公开

0

0

0

0

0

0

0

3.危及“三安全一稳定”

0

0

0

0

0

0

0

4.保护第三方合法权益

0

0

0

0

0

0

0

5.属于三类内部事务信息

0

0

0

0

0

0

0

6.属于四类过程性信息

0

0

0

0

0

0

0

7.属于行政执法案卷

0

0

0

0

0

0

0

8.属于行政查询事项

0

0

0

0

0

0

0

(四)无法提供

1.本机关不掌握相关政府信息

0

0

0

0

0

0

0

2.没有现成信息需要另行制作

0

0

0

0

0

0

0

3.补正后申请内容仍不明确

0

0

0

0

0

0

0

(五)不予处理

1.信访举报投诉类申请

0

0

0

0

0

0

0

2.重复申请

0

0

0

0

0

0

0

3.要求提供公开出版物

0

0

0

0

0

0

0

4.无正当理由大量反复申请

0

0

0

0

0

0

0

5.要求行政机关确认或重新出具已获取信息

0

0

0

0

0

0

0

(六)其他处理

1.申请人无正当理由逾期不补正、行政机关不再处理其政府信息公开申请

0

0

0

0

0

0

0

2.申请人逾期未按收费通知 要求缴纳费用、行政机关不再处理其政府信息公开申请

0

0

0

0

0

0

0

3.其他

0

0

0

0

0

0

0

(七)总计

0

0

0

0

0

0

0

四、结转下年度继续办理

0

0

0

0

0

0

0

 

四、政府信息公开行政复议、行政诉讼情况

行政复议

行政诉讼

结果维持

结果纠正

其他结果

尚未审结

总计

未经复议直接起诉

复议后起诉

结果维持

结果纠正

其他结果

尚未审结

总计

结果维持

结果纠正

其他结果

尚未审结

总计

0

0

0

0

0

0

0

0

0

0

0

0

0

0

0

 

五、存在的主要问题及改进情况

我单位的政府信息公开工作存在问题较多。一是各科室应公开业务工作信息数量较少,二是重点领域的公开内容发布较少,三是政务公开投稿稿件数量少,四是政务公开意见征集工作有差距,五是应整改事项未在完成时限内整改完毕。

下一步,区文化和旅游局将加强信息公开工作队伍建设,明确制度,压实责任,按照省、市、区要求严格落实相关规定,进一步充实完善政府信息公开内容,确保政府信息公开工作落到实处。一是召开局政务公开培训工作会议,明确各科室职责任务;二是加强重点领域公开工作,及时更新公共文化服务信息;三是按时完成投稿、意见征集任务;四是及时完成政务公开平台的整改任务。

六、其他需要报告的事项

(一)收取信息处理费情况。2021年,文化和旅游无收取信息处理费情况。

(二)2021年,文化和旅游共办理人大代表建议答复7件、政协提案答复12件,办复率均为100%

(三)年度政务公开工作创新情况。2021年,区文化和旅游局政务公开工作无创新举措。

 

 

 

临淄区文化和旅游局  

2022年1月14日   

 

   

临淄区文化和旅游局2020年政府信息公开工作年度报告

时间:2021-01-28

根据《中华人民共和国政府信息公开条例》和《山东省政府信息公开办法》要求,特向社会公布临淄区文化和旅游局2020年度政府信息公开工作年度报告。本报告所列数据的统计期限自2020年1月1日起至2020年12月31日止。

一、总体情况

2020年,区文化和旅游局严格按照《中华人民共和国政府信息公开条例》和省市区有关信息公开的工作要求,不断丰富政府信息公开内容,加大政府信息公开力度,完善政府信息公开机制,着力推进信息公开工作落地落实,保障人民群众知情权、参与权、表达权和监督权,并取得了一定成效。

(一)主动公开情况。2020年,通过临淄区人民政府门户网站累计主动公开政府信息206其中业务工作105条、规划计划3条、机构职能4条、政府信息公开指南1条、部门会议1条、公益事业1条、脱贫攻坚1条、重大建设项目3条、公共文化体育7条、重要部署执行公开9条、财政预决算信息8条、管理和服务公开信息16条、公共监管2条、人大代表建议7政协委员提案9件。(以下为部分主动公开信息截图。)

图1.管理和服务公开信息截图

图2.业务工作信息截图

图3.公共文化体育信息截图

(二)依申请公开政府信息和不予公开政府信息的情况。严格办理程序,做好网上申请受理,按时进行规范性答复。截至目前,区文化和旅游局依申请公开政府信息和不予公开政府信息条数为0。

(三)信息公开行政复议和行政诉讼情况。2020年区文化和旅游局未发生由信息公开引起的行政复议、行政诉讼,也未收到各类针对本单位政府信息公开事务有关的申诉。

(四)平台建设情况。按照我区集中统一部署,认真做好新门户网站数据迁移和维护工作,及时更新政务公开相关栏目和政府信息公开目录,确保政务公开规范运行。

(五)加强组织领导和监督保障情况。一是加强组织领导。明确此项工作由主要领导负总责,分管领导主抓,由局办公室负责牵头统筹,属事业单位、局机关各科室按职责分别负责,严格按照“谁主管、谁公开、谁负责”的原则开展信息公开工作,确保政务公开工作有序开展。二是严格监督保障。明确政务信息公开范围、内容、时限和流程等,严格规范政府信息公开的保密审查和公开属性的确定程序,层层把关审核信息发布内容,提升工作的规范程度,确保政务公开工作有章可循,有制可依,严格按制度办事,使信息公开工作朝着制度化、规范化方向有序推进。

     二、主动公开政府信息情况

第二十条第(一)项

信息内容

本年新制作数量

本年新

公开数量

对外公开

总数量

规章

0

0

0

规范性文件

0

0

0

第二十条第(五)项

信息内容

上一年项目数量

本年增/减

处理决定数量

行政许可

0

0

0

其他对外管理服务事项

0

0

0

第二十条第(六)项

信息内容

上一年项目数量

本年增/减

处理决定数量

行政处罚

7

3

10

行政强制

0

0

0

第二十条第(八)项

信息内容

上一年项目数量

本年增/减

行政事业性收费

0

0

第二十条第(九)项

信息内容

采购项目数量

采购总金额

政府集中采购

0

0

    三、收到和处理政府信息公开申请情况

(本列数据的勾稽关系为:第一项加第二项之和,等于第三项加第四项之和)

申请人情况

自然人

法人或其他组织

总计

商业企业

科研机构

社会公益组织

法律服务机构

其他

一、本年新收政府信息公开申请数量

0

0

0

0

0

0

0

二、上年结转政府信息公开申请数量

0

0

0

0

0

0

0

三、本年度办理结果

(一)予以公开

0

0

0

0

0

0

0

(二)部分公开

0

0

0

0

0

0

0

(三)不予公开

1.属于国家秘密

0

0

0

0

0

0

0

2.其他法律行政法规禁止公开

0

0

0

0

0

0

0

3.危及“三安全一稳定”

0

0

0

0

0

0

0

4.保护第三方合法权益

0

0

0

0

0

0

0

5.属于三类内部事务信息

0

0

0

0

0

0

0

6.属于四类过程性信息

0

0

0

0

0

0

0

7.属于行政执法案卷

0

0

0

0

0

0

0

8.属于行政查询事项

0

0

0

0

0

0

0

(四)无法提供

1.本机关不掌握相关政府信息

0

0

0

0

0

0

0

2.没有现成信息需要另行制作

0

0

0

0

0

0

0

3.补正后申请内容仍不明确

0

0

0

0

0

0

0

(五)不予处理

1.信访举报投诉类申请

0

0

0

0

0

0

0

2.重复申请

0

0

0

0

0

0

0

3.要求提供公开出版物

0

0

0

0

0

0

0

4.无正当理由大量反复申请

0

0

0

0

0

0

0

5.要求行政机关确认或重新出具已获取信息

0

0

0

0

0

0

0

 

(六)其他处理

0

0

0

0

0

0

0

 

(七)总计

0

0

0

0

0

0

0

四、结转下年度继续办理

0

0

0

0

0

0

0

    四、政府信息公开行政复议、行政诉讼情况

行政复议

行政诉讼

结果维持

结果纠正

其他结果

尚未审结

总计

未经复议直接起诉

复议后起诉

结果维持

结果纠正

其他结果

尚未审结

总计

结果维持

结果纠正

其他结果

尚未审结

总计

 0

 0

 0

 0

0

 0

 0

 0

 0

0

 0

 0

 0

 0

0

 

五、存在的主要问题及改进情况

2020年,我单位的政府信息公开工作虽然取得了一定的成效,但也存在一些问题。一是政务公开队伍业务能力水平不高二是政府信息公开的内容还不够全面三是政务公开创新发展水平较低

下一步,区文化和旅游局将加强信息公开工作队伍建设,整体提升信息公开工作队伍的能力水平;进一步充实完善政府信息公开内容,确保政府信息公开工作落到实处。

六、其他需要报告的事项

2020年,无其他需要报告的事项。

 

 

         临淄区文化和旅游局

      2021年1月28日 

临淄区文化和旅游局2019年政府信息公开工作年度报告

时间:2020-01-22

    根据《中华人民共和国政府信息公开条例》,特向社会公布2019年淄博市临淄区文化和旅游局信息公开年度报告。报告中相关数据的计算期限为2019年1月1日起至2019年12月31日止。2019年,我局认真贯彻区委、区政府及市局关于深化政务公开加强政务服务的决策部署,深入落实《中华人民共和国政府信息公开条例》,不断完善公开机制,拓宽公开渠道,扎实推进政府信息公开工作。成立了区文化和旅游局政府信息公开工作领导小组,下设办公室,由局办公室具体负责我局政府信息公开日常事务,实现了政府信息发布、依申请公开受理、政府信息咨询等工作的一体化管理;明确有关科室的工作职责,各科室长为政府信息公开的第一责任人,并由专人开展具体工作。严格按照《保密法》对信息进行归类,在最大范围内公开非涉密信息。如对本报告有疑问,请联系0533-7216607。

 

    一、总体情况

    2019年,我局深入开展“不忘初心、牢记使命”主题教育,坚持把习近平新时代中国特色社会主义思想理论与临淄区文旅工作实践相结合,全力推进政府信息公开工作。

    (一)加强组织领导,推进政务公开制度化规范化。

    今年以来,我局切实把政务公开作为一项重要工作,形成了主要领导带头抓,分管领导具体抓,一级抓一级,层层抓落实的良好局面。我局领导强调,要把政务公开工作作为加强勤政廉政建设,提高单位工作效率的重要措施,努力推动我局政务信息公开工作向前推进。要进一步巩固政务公开成果,规范政务公开内容,创新政务公开形式,突出政务公开重点,提高政务公开水平,有力地促进各项工作的开展。

    (二)修改完善制度,做到应公开尽公开。

    按照新修订《中华人民共和国政府信息公开条例》,不断完善我局政务公开相关制度,规范政务公开项目、公开内容、公开时限、公开方式等内容。要求各科室对照新要求,全面梳理应当主动公开的政务信息并及时公开。

    (三)重点领域及政务信息主动公开情况

    在重点领域政府信息公开工作及主动公开、依申请公开政府信息以及公开平台建设方面,截至2019年底,我局的政府信息公开工作运行正常。累计主动公开政府信息479,全文电子化率达100%,其中,业务工作类信息445,包括群众文化活动的开展、文化市场管理、文化遗产保护、文化产业发展等,占92.9%;机构职能类信息3,占0.6%;法规公文类信息4,占0.8%;其他类信息27,占5.7%,继续对政府信息公开网站上机构职能等信息进行了补充完善和维护。

    (四)依申请公开情况

    2019年度我局未收到政府信息公开申请。

    (五)人大代表建议和政协委员提案办理结果公开情况

    2019年我局共答复建议提案19件,其中,答复人大建议5件,答复政协提案14件。

    (六)因政府信息公开申请行政复议、提起行政诉讼情况

    本年度未发生针对本单位有关政府信息公开事务的行政复议申请和行政诉讼案件。

    二、主动公开政府信息情况 

    
                                              

    三、收到和处理政府信息公开申请情况 

    四、政府信息公开行政复议、行政诉讼情况


    五、存在的主要问题及改进情况

本年度,我局信息公开工作取得了一定成效,但仍存在一些问题,主要表现在:信息发布不够及时;重点、敏感领域信息公开不够深入、具体等。针对以上存在的问题,我们将认真分析,逐一研究,2020年,我局将着力从以下几个方面加以改进:

一是加强领导,提高认识。坚持主要负责同志亲自部署督导,分管同志具体负责落实,各科室协同配合,办公室将继续牵头采取有力措施,持续抓实抓好,确保政务信息公开到位、服务到位。

二是突出重点,主动公开。按照上级文件要求和工作部署,进一步健全完善信息公开工作协调机制,推进重大建设项目信息、业务工作等重点领域信息公开,确保信息公开重点工作稳步推进。

是督促检查,促进落实。通过阶段性自查网站公开的信息,督促本局政务信息公开规范化、常态化,促进政务信息公开工作再上新台阶。

是注重队伍,强化培训。不断提高工作人员的业务能力和水平;持续抓好业务培训工作,使负责业务的同志掌握新知识、运用新技术,明确职责,落实责任,着力提升业务水平,使信息公开工作顺利推进。

    六、其他需要报告的事项

    无

 

临淄区文化和旅游局2018年度政府信息公开年度报告

时间:2019-03-31

根据《中华人民共和国政府信息公开条例》、《山东省政府信息公开办法》有关规定和区政府有关工作部署,特编制临淄区文化和旅游局2018年度政府信息公开年度报告。本年报中所列数据的统计期限自2018年1月1日起至2018年12月31日止。如对本年报有疑问,请与临淄区文化和旅游局联系(地址:临淄区临淄大道308号齐文化博物院办公区403室,邮编:255400,电话:7216607,电子邮箱:lzqwhcbj@163.com)

 一、政府信息公开工作概述

2018,我局认真贯彻区委、区政府及市局关于深化政务公开加强政务服务的决策部署,深入落实《中华人民共和国政府信息公开条例》和《山东省政府信息公开办法》,不断完善公开机制,拓宽公开渠道,扎实推进政府信息公开工作。

 二、政府信息公开的组织领导和制度建设情况

 自《条例》实施之日起,我局高度重视信息公开工作,组织保障落实,工作措施到位,认真按照上级部门的要求,积极、有序、稳妥推进政府信息公开的各项工作。成立了区文化和旅游局政府信息公开工作领导小组,下设办公室,由局办公室具体负责我局政府信息公开日常事务,实现了政府信息发布、依申请公开受理、政府信息咨询等工作的一体化管理;明确有关科室的工作职责,各科室长为政府信息公开的第一责任人,并由专人开展具体工作。在主动公开信息工作中,为做好政府信息及时向公众传递,我局制定了拟文、审核、发布等程序,使公文进入审签程序时就明确该公文信息可否公开,增强了信息公开的时效性,确保公开与保密两不误。截至2018年底,我局的政府信息公开工作运行正常。

 三、主动公开政府信息以及公开平台建设情况

(一)公开主要内容

截至2018年底,我局2018年累计主动公开政府信息692,全文电子化率达100%。

2018,在主动公开的信息中,工作动态类信息659,包括群众文化活动的开展、文化市场管理、文化遗产保护、文化产业发展等,占95.2%;机构职能类信息3,占0.4%;政策类信息26,占3.8%;其他类信息4,占0.6%

(二)公开形式

在主动公开信息工作中,为方便公众了解信息,我局主要通过两种形式发布政府信息:

1. 在临淄区政府信息公开网——临淄区人民政府网站,网站地址为:/

2.在临淄区文化旅游和新闻出版局微信公众平台——临淄文化,微信公众号为:linziwen。

另外,通过报纸、电视、广播、杂志等媒体发布部分主动公开的政府信息。

在便民服务方面,我局按照规范统一的要求,编制了《临淄区文化和旅游局政府信息公开指南》、《临淄区文化和旅游局政府信息公开目录》及细则、流程等相关制度。

四、依申请公开政府信息和不予公开政府信息的情况

2018年度我局未收到任何形式的申请公开信息要求和不予公开信息的要求。

五、政府信息公开收费及减免情况

目前,我局暂实行免费提供政府信息公开。

六、行政复议、诉讼情况

2018年度我局未接到有关政府信息公开方面的复议、诉讼。

七、政府信息公开保密审查级监督检查情况

我局严格按照《保密法》及相关规定,严格执行政府信息公开前保密审查制度,明确审查工作程序和责任,确保“上网信息不涉密,涉密信息不上网”。2018年区文化和旅游局未发生因政府信息公开不当引起的失泄密事件

八、存在主要问题及改进情况

1、目前政府信息公开工作面向社会宣传力度不够。要利用多种媒体和宣传渠道,特别是微信、微博等发布公开信息,提高信息的知晓率,更好地服务社会。

2、工作机制还不够完善,主动公开的意识还有待进一步加强,还存在信息发布量少等问题。要鼓励广大干部、群众积极参与信息发布的监督,建立长效的监督管理机制。

                                                                                                                  临淄区文化和旅游局

                                                                   2019331


临淄区文化旅游和新闻出版局2017年度政府信息公开年度报告

时间:2018-03-15

根据《中华人民共和国政府信息公开条例《山东省政府信息公开办法》有关规定和区政府有关工作部署,特编制临淄区文化旅游和新闻出版局2017年度政府信息公开年度报告。本年报中所列数据的统计期限自2017年1月1日起至2017年12月31日止。如对本年报有疑问,请与临淄区文化旅游和新闻出版局联系(地址:临淄区临淄大道308号齐文化博物院办公区403室,邮编:255400,电话:7216607,电子邮箱:lzqwhcbj@163.com)

一、政府信息公开工作概述

2017年,我局认真贯彻区委、区政府及市局关于深化政务公开加强政务服务的决策部署,深入落实《中华人民共和国政府信息公开条例》和《山东省政府信息公开办法》,不断完善公开机制,拓宽公开渠道,扎实推进政府信息公开工作。

二、政府信息公开的组织领导和制度建设情况

自《条例》实施之日起,我局高度重视信息公开工作,组织保障落实,工作措施到位,认真按照上级部门的要求,积极、有序、稳妥推进政府信息公开的各项工作。成立了区文化旅游和新闻出版局政府信息公开工作领导小组,下设办公室,由局办公室具体负责我局政府信息公开日常事务,实现了政府信息发布、依申请公开受理、政府信息咨询等工作的一体化管理;明确有关科室的工作职责,各科室长为政府信息公开的第一责任人,并由专人开展具体工作。在主动公开信息工作中,为做好政府信息及时向公众传递,我局制定了拟文、审核、发布等程序,使公文进入审签程序时就明确该公文信息可否公开,增强了信息公开的时效性,确保公开与保密两不误。截至2017年底,我局的政府信息公开工作运行正常。

三、主动公开政府信息以及公开平台建设情况

(一)公开主要内容

截至2017年底,我局2017年累计主动公开政府信息100条,全文电子化率达100%。

2017年,在主动公开的信息中,工作动态类信息84条,包括群众文化活动的开展、文化市场管理、文化遗产保护、文化产业发展等,占84%;财务预决算信息信息2条,占2%;信息公开年度报告和统计表1条,占1%;行政审批类信息13条,占13%;

(二)公开形式

在主动公开信息工作中,为方便公众了解信息,我局主要通过两种形式发布政府信息:

1. 在临淄区政府信息公开网——临淄区人民政府网站,网站地址为:http://www.linzi.gov.cn/

2.在临淄区文化旅游和新闻出版局微信公众平台——临淄文化,微信公众号为:linziwenhua。

另外,通过报纸、电视、广播、杂志等媒体发布部分主动公开的政府信息。

在便民服务方面,我局按照规范统一的要求,编制了《临淄区文化旅游和新闻出版局政府信息公开指南》、《临淄区文化旅游和新闻出版局政府信息公开目录》及细则、流程等相关制度。

四、依申请公开政府信息和不予公开政府信息的情况

2017年度我局未收到任何形式的申请公开信息要求和不予公开信息的要求。

五、政府信息公开收费及减免情况

目前,我局暂实行免费提供政府信息公开。

六、行政复议、诉讼情况

2017年度我局未接到有关政府信息公开方面的复议、诉讼。

七、政府信息公开保密审查级监督检查情况

我局严格按照《保密法》及相关规定,严格执行政府信息公开前保密审查制度,明确审查工作程序和责任,确保“上网信息不涉密,涉密信息不上网”。2017年区文化旅游和新闻出版局未发生因政府信息公开不当引起的失泄密事件

八、存在主要问题及改进情况

1、目前政府信息公开工作面向社会宣传力度不够。要利用多种媒体和宣传渠道,特别是微信、微博等发布公开信息,提高信息的知晓率,更好地服务社会。

2、工作机制还不够完善,主动公开的意识还有待进一步加强,还存在信息发布量少等问题。要鼓励广大干部、群众积极参与信息发布的监督,建立长效的监督管理机制。

                                                                                                                  临淄区文化旅游和新闻出版局

                                                                       2018年3月15日

临淄区文化出版局2016年度政府信息公开年度报告

时间:2017-03-30

    根据《中华人民共和国政府信息公开条例》、《山东省政府信息公开办法》有关规定和区政府有关工作部署,特编制临淄区文化出版局2016年度政府信息公开年度报告。本年报中所列数据的统计期限自2016年1月1日起至2016年12月31日止。如对本年报有疑问,请与临淄区文化出版局联系(地址:临淄区行政办公中心912室,邮编:255400,电话:7216607,电子邮箱:lzqwhcbj@163.com

    一、政府信息公开工作概述

    2016年,我局认真贯彻区委、区政府及市局关于深化政务公开加强政务服务的决策部署,深入落实《中华人民共和国政府信息公开条例》和《山东省政府信息公开办法》,不断完善公开机制,拓宽公开渠道,扎实推进政府信息公开工作。

    二、政府信息公开的组织领导和制度建设情况

    自《条例》实施之日起,我局高度重视信息公开工作,组织保障落实,工作措施到位,认真按照上级部门的要求,积极、有序、稳妥推进政府信息公开的各项工作。成立了区文化出版局政府信息公开工作领导小组,下设办公室,由局办公室具体负责我局政府信息公开日常事务,实现了政府信息发布、依申请公开受理、政府信息咨询等工作的一体化管理;明确有关科室的工作职责,各科室长为政府信息公开的第一责任人,并由专人开展具体工作。在主动公开信息工作中,为做好政府信息及时向公众传递,我局制定了拟文、审核、发布等程序,使公文进入审签程序时就明确该公文信息可否公开,增强了信息公开的时效性,确保公开与保密两不误。截至2016年底,我局的政府信息公开工作运行正常。

    三、主动公开政府信息以及公开平台建设情况

    (一)公开主要内容

    截至2016年底,我局2016年累计主动公开政府信息121条,全文电子化率达100%。

    2016年,在主动公开的信息中,工作动态类信息109条,包括群众文化活动的开展、文化市场管理、文化遗产保护、文化产业发展等,占90%;部门发文1条,占0.8%;财务预决算信息信息4条,占3.3%;信息公开年度报告和统计表2条,占1.6%;行政审批类信息5条,占4.1%;

    (二)公开形式

    在主动公开信息工作中,为方便公众了解信息,我局主要通过两种形式发布政府信息:

    1. 在临淄区政府信息公开网——临淄区政府信息公开网,网站地址为:http://www.linzi.gov.cn/

    2. 在临淄区文化出版局门户网站——临淄文化信息网,网站地址为:http://www.lzwhw.gov.cn

    3.在临淄区文化出版局微信公众平台——临淄文化,微信公众号为:linziwenhua。

    另外,通过报纸、电视、广播、杂志等媒体发布部分主动公开的政府信息。

    在便民服务方面,我局按照规范统一的要求,编制了《临淄区文化出版局政府信息公开指南》、《临淄区文化出版局政府信息公开目录》及细则、流程等相关制度。

    四、依申请公开政府信息和不予公开政府信息的情况

    2016年度我局未收到任何形式的申请公开信息要求和不予公开信息的要求。

    五、政府信息公开收费及减免情况

    目前,我局暂实行免费提供政府信息公开。

    六、行政复议、诉讼情况

    2016年度我局未接到有关政府信息公开方面的复议、诉讼。

    七、政府信息公开保密审查级监督检查情况

    我局严格按照《保密法》及相关规定,严格执行政府信息公开前保密审查制度,明确审查工作程序和责任,确保“上网信息不涉密,涉密信息不上网”。2016年区文化出版局未发生因政府信息公开不当引起的失泄密事件。

    八、存在主要问题及改进情况

    1、目前政府信息公开工作面向社会宣传力度不够。要利用多种媒体和宣传渠道,特别是微信、微博等发布公开信息,提高信息的知晓率,更好地服务社会。

    2、工作机制还不够完善,主动公开的意识还有待进一步加强,还存在信息发布量少等问题。要鼓励广大干部、群众积极参与信息发布的监督,建立长效的监督管理机制。

 

 

 

 

                                                    区文化出版局

                                  2017年3月21日

临淄区文化出版局2015年度政府信息公开年度报告

时间:2016-03-31

根据《中华人民共和国政府信息公开条例》(以下简称《条例》)和《临淄区人民政府办公室关于做好政府信息公开工作的通知》(临政办字〔2016〕2号)要求,特编制临淄区文化出版局2015年度政府信息公开年度报告。本年报由基本情况、主动公开政府信息情况、依申请公开政府信息和不予公开政府信息的情况、政府信息公开收费及减免情况、复议、诉讼情况、存在的主要问题及改进情况、附表等部分组成。本年报中所列数据的统计期限自2015年1月1日起至2015年12月31日止。如对本年报有疑问,请与临淄区文化出版局联系(地址:临淄区行政办公中心912室,邮编:255400,电话:7216607,电子邮箱:lzqwhcbj@163.com

一 、基本情况

自《条例》实施之日起,我局高度重视信息公开工作,组织保障落实,工作措施到位,认真按照上级部门的要求,积极、有序、稳妥推进政府信息公开的各项工作。成立了区文化出版局政府信息公开工作领导小组,下设办公室,由局办公室具体负责我局政府信息公开日常事务,实现了政府信息发布、依申请公开受理、政府信息咨询等工作的一体化管理;明确有关科室的工作职责,各科室长为政府信息公开的第一责任人,并由专人开展具体工作。在主动公开信息工作中,为做好政府信息及时向公众传递,我局制定了拟文、审核、发布等程序,使公文进入审签程序时就明确该公文信息可否公开,增强了信息公开的时效性,确保公开与保密两不误。截至2015年底,我局的政府信息公开工作运行正常。

二、主动公开政府信息情况

(一)公开主要内容

截至2015年底,我局2015年累计主动公开政府信息200条,全文电子化率达100%。

2015年,在主动公开的信息中,机构设置及人事类信息7条,占9%;工作动态类信息42条,包括群众文化活动的开展、文化市场管理、文化遗产保护、文化产业发展等,占52%;部门发文5条,占6%;财务预决算信息信息4条,占5%;信息公开年度报告和统计表9条,占11%;行政审批类信息8条,占10%;政策解读6条,占7%。

(二)公开形式

在主动公开信息工作中,为方便公众了解信息,我局主要通过两种形式发布政府信息:

1. 在临淄区政府信息公开网——临淄区政府信息公开网,网站地址为:http://www.linzi.gov.cn/

2.在临淄区文化出版局微信公众平台——临淄文化,微信公众号为:linziwenhua。

另外,通过报纸、电视、广播、杂志等媒体发布部分主动公开的政府信息。

在便民服务方面,我局按照规范统一的要求,编制了《临淄区文化出版局政府信息公开指南》、《临淄区文化出版局政府信息公开目录》及细则、流程等相关制度。

三、依申请公开政府信息和不予公开政府信息的情况

2015年度我局未收到任何形式的申请公开信息要求和不予公开信息的要求。

四、政府信息公开收费及减免情况

目前,我局暂实行免费提供政府信息公开。

五、行政复议、诉讼情况

2015年度我局未接到有关政府信息公开方面的复议、诉讼。

六、存在主要问题及改进情况

目前政府信息公开工作面向社会宣传力度不够。要利用多种媒体和宣传渠道,特别是微信、微博等发布公开信息,提高信息的知晓率,更好地服务社会。

 

临淄区文化出版局2014年度政府信息公开年度报告

时间:2015-03-31

   根据《中华人民共和国政府信息公开条例》(以下简称《条例》)和《临淄区人民政府办公室关于做好2014年政府信息公开工作年度报告编制工作的通知》(临政办发〔2014〕7号)要求,特编制临淄区文化出版局2014年度政府信息公开年度报告。本年报由基本情况、主动公开政府信息情况、依申请公开政府信息和不予公开政府信息的情况、政府信息公开收费及减免情况、复议、诉讼情况、存在的主要问题及改进情况、附表等部分组成。本年报中所列数据的统计期限自2014年1月1日起至2014年12月31日止。如对本年报有疑问,请与临淄区文化出版局联系(地址:临淄区行政办公中心912室,邮编:255400,电话:7216607,电子邮箱:lzqwhcbj@163.com)
    一 、基本情况
    自《条例》实施之日起,我局高度重视信息公开工作,组织保障落实,工作措施到位,认真按照上级部门的要求,积极、有序、稳妥推进政府信息公开的各项工作。成立了区文化出版局政府信息公开工作领导小组,下设办公室,由局办公室具体负责我局政府信息公开日常事务,实现了政府信息发布、依申请公开受理、政府信息咨询等工作的一体化管理;明确有关科室的工作职责,各科室长为政府信息公开的第一责任人,并由专人开展具体工作。在主动公开信息工作中,为做好政府信息及时向公众传递,我局制定了拟文、审核、发布等程序,使公文进入审签程序时就明确该公文信息可否公开,增强了信息公开的时效性,确保公开与保密两不误。截至2014年底,我局的政府信息公开工作运行正常。
    二、主动公开政府信息情况
    (一)公开主要内容
    截至2014年底,我局2014年累计主动公开政府信息20条,全文电子化率达100%。
2014年,在主动公开的信息中,机构设置及人事类信息2条,占10%;工作动态类信息10条,包括群众文化活动的开展、文化市场管理、文化遗产保护、文化产业发展等,占50%;制定制度1条,占5%;财务预决算信息信息5条,占25%,信息公开年度报告和统计表2条,占10%。
    (二)公开形式
    在主动公开信息工作中,为方便公众了解信息,我局主要通过两种形式发布政府信息:
    1. 在临淄区政府信息公开网——临淄区政府信息公开网,网站地址为:http://www.linzi.gov.cn/。
    2. 在临淄区文化出版局门户网站——临淄文化信息网,网站地址为:http://www.lzwhw.gov.cn。
    另外,通过报纸、电视、广播、杂志等媒体发布部分主动公开的政府信息。
在便民服务方面,我局按照规范统一的要求,编制了《临淄区文化出版局政府信息公开指南》、《临淄区文化出版局政府信息公开目录》及细则、流程等相关制度。
    三、依申请公开政府信息和不予公开政府信息的情况
    2014年度我局未收到任何形式的申请公开信息要求和不予公开信息的要求。
    四、政府信息公开收费及减免情况
    目前,我局暂实行免费提供政府信息公开。
    五、行政复议、诉讼情况
    2014年度我局未接到有关政府信息公开方面的复议、诉讼。
    六、存在主要问题及改进情况
    1、目前政府信息公开工作面向社会宣传力度不够。要利用多种媒体和宣传渠道发布公开信息,提高信息的知晓率,更好地服务社会。
    2、工作机制还不够完善,主动公开的意识还有待进一步加强,还存在信息发布量少等问题。要鼓励广大干部、群众积极参与信息发布的监督,建立长效的监督管理机制。





                                                    区文化出版局
                                                    2015年1月19日

临淄区文化出版局2013年度政府信息公开年度报告

时间:2014-03-27

 根据《中华人民共和国政府信息公开条例》(以下简称《条例》)和《临淄区人民政府办公室关于做好2013年政府信息公开工作年度报告编制工作的通知》(临政办发〔2014〕7号)要求,特编制临淄区文化出版局2013年度政府信息公开年度报告。本年报由基本情况、主动公开政府信息情况、依申请公开政府信息和不予公开政府信息的情况、政府信息公开收费及减免情况、复议、诉讼情况、存在的主要问题及改进情况、附表等部分组成。本年报中所列数据的统计期限自2013年1月1日起至2013年12月31日止。如对本年报有疑问,请与临淄区文化出版局联系(地址:临淄区行政办公中心912室,邮编:255400,电话:7216607,电子邮箱:lzqwhcbj@163.com

 一 、基本情况

 自《条例》实施之日起,我局高度重视信息公开工作,组织保障落实,工作措施到位,认真按照上级部门的要求,积极、有序、稳妥推进政府信息公开的各项工作。成立了区文化出版局政府信息公开工作领导小组,下设办公室,由局办公室具体负责我局政府信息公开日常事务,实现了政府信息发布、依申请公开受理、政府信息咨询等工作的一体化管理;明确有关科室的工作职责,各科室长为政府信息公开的第一责任人,并由专人开展具体工作。在主动公开信息工作中,为做好政府信息及时向公众传递,我局制定了拟文、审核、发布等程序,使公文进入审签程序时就明确该公文信息可否公开,增强了信息公开的时效性,确保公开与保密两不误。截至2013年底,我局的政府信息公开工作运行正常。

 二、主动公开政府信息情况

 (一)公开主要内容

 截至2013年底,我局2013年累计主动公开政府信息63条,全文电子化率达100%。

 2013年,在主动公开的信息中,机构设置及人事类信息11条,占17.5%;工作动态类信息34条,包括群众文化活动的开展、文化市场管理、文化遗产保护、文化产业发展等,占54.0%;办事指南类信息16条,包括新闻出版、文化娱乐经营场所等行政审批事项,占25.4%;财务预决算信息信息1条,占1.6%信息公开年度报告1条,占1.6%。

 (二)公开形式

 在主动公开信息工作中,为方便公众了解信息,我局主要通过两种形式发布政府信息:

 1. 在临淄区政府信息公开网——临淄区政府信息公开网,网站地址为:http://www.linzi.gov.cn/。

 2. 在临淄区文化出版局门户网站——临淄文化信息网,网站地址为:http://www.lzwhw.gov.cn。

 另外,通过报纸、电视、广播、杂志等媒体发布部分主动公开的政府信息。

 在便民服务方面,我局按照规范统一的要求,编制了《临淄区文化出版局政府信息公开指南》、《临淄区文化出版局政府信息公开目录》及细则、流程等相关制度。

 三、依申请公开政府信息和不予公开政府信息的情况

 2013年度我局未收到任何形式的申请公开信息要求和不予公开信息的要求。

 四、政府信息公开收费及减免情况

 目前,我局暂实行免费提供政府信息公开。

 五、行政复议、诉讼情况

 2013年度我局未接到有关政府信息公开方面的复议、诉讼。

 六、存在主要问题及改进情况

 1、目前政府信息公开工作面向社会宣传力度不够。要利用多种媒体和宣传渠道发布公开信息,提高信息的知晓率,更好地服务社会。

 2、工作机制还不够完善,主动公开的意识还有待进一步加强,还存在信息发布量少等问题。要鼓励广大干部、群众积极参与信息发布的监督,建立长效的监督管理机制。

 

临淄区文化出版局2012年度政府信息公开年度报告

时间:2013-03-20

 根据《中华人民共和国政府信息公开条例》(以下简称《条例》)和《淄博市人民政府办公厅关于做好政府信息公开工作年度报告编制工作的通知》(淄政办函[2012]3号)要求,特编制临淄区文化出版局2012年度政府信息公开年度报告。本年报由基本情况、主动公开政府信息情况、依申请公开政府信息和不予公开政府信息的情况、政府信息公开收费及减免情况、复议、诉讼情况、存在的主要问题及改进情况、附表等部分组成。本年报中所列数据的统计期限自2012年1月1日起至2012年12月31日止。如对本年报有疑问,请与临淄区文化出版局联系(地址:临淄区行政办公中心912室,邮编:255400,电话:7216607,电子邮箱:lzqwhcbj@163.com

 一 、基本情况

 自《条例》实施之日起,我局高度重视信息公开工作,组织保障落实,工作措施到位,认真按照上级部门的要求,积极、有序、稳妥推进政府信息公开的各项工作。成立了区文化出版局政府信息公开工作领导小组,下设办公室,由局办公室具体负责我局政府信息公开日常事务,实现了政府信息发布、依申请公开受理、政府信息咨询等工作的一体化管理;明确有关科室的工作职责,各科室长为政府信息公开的第一责任人,并由专人开展具体工作。在主动公开信息工作中,为做好政府信息及时向公众传递,我局制定了拟文、审核、发布等程序,使公文进入审签程序时就明确该公文信息可否公开,增强了信息公开的时效性,确保公开与保密两不误。截至2012年底,我局的政府信息公开工作运行正常。

 二、主动公开政府信息情况

 (一)公开主要内容

 截至2012年底,我局累计主动公开政府信息616条,全文电子化率达100%。

 2012年,在主动公开的信息中,工作动态类信息57条,包括群众文化活动的开展、文化市场管理、文化遗产保护、文化产业发展等,占59.38%;业务工作类信息5条,包括党建、依法行政等,占5.21%;;政策法规类信息34条,包括文化市场法律法规、非物质文化遗产保护、文物保护等相关法律法规,占35.42%。

 (二)公开形式

 在主动公开信息工作中,为方便公众了解信息,我局主要通过两种形式发布政府信息:

 1. 在临淄区政府信息公开网——临淄区政府信息公开网,网站地址为:http://218.201.121.112/。

 2. 在临淄区文化出版局门户网站——临淄文化信息网,网站地址为:http://www.lzwhw.gov.cn。

 另外,通过报纸、电视、广播、杂志等媒体发布部分主动公开的政府信息。

 在便民服务方面,我局按照规范统一的要求,编制了《临淄区文化出版局政府信息公开指南》、《临淄区文化出版局政府信息公开目录》及细则、流程等相关制度。

 三、依申请公开政府信息和不予公开政府信息的情况

 2012年度我局未收到任何形式的申请公开信息要求和不予公开信息的要求。

 四、政府信息公开收费及减免情况

 目前,我局暂实行免费提供政府信息公开。

 五、行政复议、诉讼情况

 2012年度我局未接到有关政府信息公开方面的复议、诉讼。

 六、存在主要问题及改进情况

 1、目前政府信息公开工作才刚起步,面向社会宣传力度不够。要利用多种媒体和宣传渠道发布公开信息,提高信息的知晓率,更好地服务社会。

 2、工作机制还不够完善,主动公开的意识还有待进一步加强,还存在信息发布量少等问题。要鼓励广大干部、群众积极参与信息发布的监督,建立长效的监督管理机制。

 

临淄区文化出版局2011年度政府信息公开年度报告

时间:2012-03-15

 根据《中华人民共和国政府信息公开条例》(以下简称《条例》)和《淄博市人民政府办公厅关于做好政府信息公开工作年度报告编制工作的通知》(淄政办函[2012]3号)要求,特编制临淄区文化出版局2011年度政府信息公开年度报告。本年报由基本情况、主动公开政府信息情况、依申请公开政府信息和不予公开政府信息的情况、政府信息公开收费及减免情况、复议、诉讼情况、存在的主要问题及改进情况、附表等部分组成。本年报中所列数据的统计期限自2011年1月1日起至2011年12月31日止。如对本年报有疑问,请与临淄区文化出版局联系(地址:临淄区行政办公中心912室,邮编:255400,电话:7216607,电子邮箱:lzqwhcbj@163.com

 一 、基本情况

 自《条例》实施之日起,我局高度重视信息公开工作,组织保障落实,工作措施到位,认真按照上级部门的要求,积极、有序、稳妥推进政府信息公开的各项工作。成立了区文化出版局政府信息公开工作领导小组,下设办公室,由局办公室具体负责我局政府信息公开日常事务,实现了政府信息发布、依申请公开受理、政府信息咨询等工作的一体化管理;明确有关科室的工作职责,各科室长为政府信息公开的第一责任人,并由专人开展具体工作。在主动公开信息工作中,为做好政府信息及时向公众传递,我局制定了拟文、审核、发布等程序,使公文进入审签程序时就明确该公文信息可否公开,增强了信息公开的时效性,确保公开与保密两不误。截至2011年底,我局的政府信息公开工作运行正常。

 二、主动公开政府信息情况

(一)公开主要内容

 截至2011年底,我局累计主动公开政府信息520条,全文电子化率达100%。

 2011年,在主动公开的信息中,工作动态类信息49条,包括群众文化活动的开展、文化市场管理、文化遗产保护、文化产业发展等,占57.6%;业务工作类信息10条,包括党建、依法行政等,占11.8%;;政策法规类信息24条,包括文化市场法律法规、非物质文化遗产保护、文物保护等相关法律法规,占28.2%;统计类信息2条,包括年度信息报告及信息公开统计表,占2.4%。

 (二)公开形式

 在主动公开信息工作中,为方便公众了解信息,我局主要通过三种形式发布政府信息:

 1. 在临淄区政府信息公开网——临淄区政府信息公开网,网站地址为:http://218.201.121.112/。

 2. 在临淄区文化出版局门户网站——临淄文化信息网,网站地址为:http://www.lzwhw.gov.cn。

 另外,通过报纸、电视、广播、杂志等媒体发布部分主动公开的政府信息。

 在便民服务方面,我局按照规范统一的要求,编制了《临淄区文化出版局政府信息公开指南》、《临淄区文化出版局政府信息公开目录》及细则、流程等相关制度。

 三、依申请公开政府信息和不予公开政府信息的情况

 2011年度我局未收到任何形式的申请公开信息要求和不予公开信息的要求。

 四、政府信息公开收费及减免情况

 目前,我局暂实行免费提供政府信息公开。

 五、行政复议、诉讼情况

 2011年度我局未接到有关政府信息公开方面的复议、诉讼。

 六、存在主要问题及改进情况

 1、目前政府信息公开工作才刚起步,面向社会宣传力度不够。要利用多种媒体和宣传渠道发布公开信息,提高信息的知晓率,更好地服务社会。

 2、工作机制还不够完善,主动公开的意识还有待进一步加强,还存在信息发布量少等问题。要鼓励广大干部、群众积极参与信息发布的监督,建立长效的监督管理机制。

 

临淄区文化局2010年度政府信息公开年度报告

时间:2011-03-28

           2010年我局政府信息公开工作本着提高工作透明度,保障公民、法人和其他组织的知情权的目的,根据《中华人民共和国政府信息公开条例》和区政府有关文件精神,积极开展信息公开工作,安排专人在认真学习文件精神的基础上,按时完成了信息公开工作。现根据临信办发[2011]2号文件要求,现将我局2010年度政府信息公开情况报告如下:

    一、政府信息主动公开情况

    (一)公开主要内容

    截至2010年底,我局累计主动公开政府信息70条,全文电子化率达100%.

    在主动公开的信息中,工作动态类信息62条,包括群众文化活动的开展、文化市场管理、文化遗产保护、文化产业发展等,占88.2%;机构设置类信息6条,包括局班子成员分工、科室职能设置占8.6%;政策法规类信息2条,包括文化市场法律法规、文物保护法等,占2.9%。

    (二)公开形式

    在主动公开信息工作中,为方便公众了解信息,我局主要通过三种形式发布政府信息:

    1.在临淄区政府门户网——临淄区政府信息网,网站地址为:http://www.linzi.gov.cn。           

    2.在临淄区文化局门户网站——临淄文化信息网,网站地址为:http://www.lzwhw.gov.cn。      

    3.在淄博市文化局门户网站——淄博文化信息网,网站地址为:http://www.zbwh.gov.cn。   

    另外,通过报纸、电视、广播、杂志等媒体发布部分主动公开的政府信息。   

    在便民服务方面,我局按照规范统一的要求,编制了《临淄区文化局政府信息公开指南》、《临淄区文化局政府信息公开目录》及细则、流程等相关制度。

    二、依申请公开政府信息办理情况

    本年度内我局严格按照《指南》规定的程序开展政府信息公开工作,本年度未发生依申请公开的政府信息。

    三、政府信息公开的收费及减免情况

    本年度我局尚未对公民、法人和其他组织的信息申请进行收费。

    四、因政府信息公开申请行政复议、提起行政诉讼的情况

    我局严格按照《指南》有关规定主动公开信息内容、时限,依申请公开信息程序、时限要求开展信息公开工作,无一项泄露国家秘密或侵犯第三方权益的行为。本年度内未发生政府信息公开行政复议、行政诉讼的情况。

    五、政府信息公开工作存在的主要问题和改进情况

    (一)存在的主要问题

    一是部门信息公开的内容缺乏具体的标准、规范,政府信息公开的内容有待进一步完善;二是信息更新还不够及时,尤其是日常业务工作动态没有及时挂到政府信息公开网。

    (二)改进措施

    我们在今后的信息公开工作中将采取以下措施:一是统一认识,加强与上级业务部门的联系,努力规范工作流程。我局将按照《中华人民共和国政府信息公开条例》要求,进一步梳理局机关所掌握的政府信息,加强与上级业务部门的联系与沟通,及时提供,定期维护,确保政府信息公开工作能按照既定的工作流程有效运作,方便公众查询。二是认真梳理,逐步扩大公开内容,及时更新。进一步对原有的政府信息公开目录进行补充完善,保证公开信息的及时性、完整性和准确性。

临淄区文化局2009年政府信息公开年度报告

时间:2010-03-30

    根据《中华人民共和国政府信息公开条例》(以下简称《条例》)和《淄博市人民政府办公厅关于做好政府信息公开工作年度报告编制工作的通知要求,特编制临淄区文化局2009年政府信息公开年度报告。本年报由基本情况、主动公开政府信息情况、依申请公开政府信息和不予公开政府信息的情况、政府信息公开收费及减免情况、复议、诉讼情况、存在的主要问题及改进情况、附表等部分组成。本年报中所列数据的统计期限自2009年1月1日起至2009年12月31日止。如对本年报有疑问,请与临淄区文化局联系(地址:临淄区行政办公中心912室,邮编:255400,电话:7216607,电子邮箱:lzqwhj01@163.com

    一、基本情况

    自《条例》实施之日起,我局高度重视信息公开工作,组织保障落实,工作措施到位,认真按照上级部门的要求,积极、有序、稳妥推进政府信息公开的各项工作。成立了区文化局政府信息公开工作领导小组,下设办公室,由局办公室具体负责我局政府信息公开日常事务,实现了政府信息发布、依申请公开受理、政府信息咨询等工作的一体化管理;明确有关科室的工作职责,各科室长为政府信息公开的第一责任人,并由专人开展具体工作。在主动公开信息工作中,为做好政府信息及时向公众传递,我局制定了拟文、审核、发布等程序,使公文进入审签程序时就明确该公文信息可否公开,增强了信息公开的时效性,确保公开与保密两不误。截至2009年底,我局的政府信息公开工作运行正常。

    二、主动公开政府信息情况

    (一)公开主要内容

    截至2009年底,我局累计主动公开政府信息241条,全文电子化率达100%.

    在主动公开的信息中,工作动态类信息226条,包括群众文化活动的开展、文化市场管理、文化遗产保护、文化产业发展等,占94%;机构设置类信息6条,包括局班子成员分工、科室职能设置占2.5%;政策法规类信息3条,包括文化市场法律法规、文物保护法等,占1%;其他类信息6条,包括规划计划类、统计数据类,占2.5%。

    (二)公开形式

    在主动公开信息工作中,为方便公众了解信息,我局主要通过三种形式发布政府信息:

    1.在临淄区政府门户网——临淄区政府信息网,网站地址为:http://www.linzi.gov.cn           

    2.在临淄区文化局门户网站——临淄文化信息网,网站地址为:http://www.lzwhw.gov.cn       

    3.在淄博市文化局门户网站——淄博文化信息网,网站地址为:http://www.zbwh.gov.cn   

    另外,通过报纸、电视、广播、杂志等媒体发布部分主动公开的政府信息。    在便民服务方面,我局按照规范统一的要求,编制了《临淄区文化局政府信息公开指南》、《临淄区文化局政府信息公开目录》及细则、流程等相关制度。

    三、依申请公开政府信息和不予公开政府信息的情况

    2009年度我局未收到任何形式的申请公开信息要求和不予公开信息的要求。

    四、政府信息公开收费及减免情况

    目前,我局暂实行免费提供政府信息公开。

    五、行政复议、诉讼情况

    2008年度我局未接到有关政府信息公开方面的复议、诉讼。

    六、存在主要问题及改进情况

    1、目前政府信息公开工作才刚起步,面向社会宣传力度不够。要利用多种媒体和宣传渠道发布公开信息,提高信息的知晓率,更好地服务社会。

    2、存在信息发布量少等问题。要鼓励广大干部、群众积极参与信息发布的监督,建立长效的监督管理机制。

 

临淄区文化局2008年政府信息公开年度报告

时间:2009-03-05


   根据《中华人民共和国政府信息公开条例》(以下简称《条例》)和《淄博市人民政府办公厅关于做好政府信息公开工作年度报告编制工作的通知》(淄博政办字[2009]6号)要求,特编制临淄区文化局2008年政府信息公开年度报告。本年报由基本情况、主动公开政府信息情况、依申请公开政府信息和不予公开政府信息的情况、政府信息公开收费及减免情况、复议、诉讼情况、存在的主要问题及改进情况、附表等部分组成。本年报中所列数据的统计期限自2008年1月1日起至2008年12月31日止。如对本年报有疑问,请与临淄区文化局联系(地址:临淄区行政办公中心912室,邮编:255400,电话:7216607,电子邮箱:lzqwhj01@163.com)
    一、基本情况
    自《条例》实施之日起,我局高度重视信息公开工作,组织保障落实,工作措施到位,认真按照上级部门的要求,积极、有序、稳妥推进政府信息公开的各项工作。成立了区文化局政府信息公开工作领导小组,下设办公室,由局办公室具体负责我局政府信息公开日常事务,实现了政府信息发布、依申请公开受理、政府信息咨询等工作的一体化管理;明确有关科室的工作职责,各科室长为政府信息公开的第一责任人,并由专人开展具体工作。在主动公开信息工作中,为做好政府信息及时向公众传递,我局制定了拟文、审核、发布等程序,使公文进入审签程序时就明确该公文信息可否公开,增强了信息公开的时效性,确保公开与保密两不误。截至2008年底,我局的政府信息公开工作运行正常。
    二、主动公开政府信息情况
    (一)公开主要内容
    截至2008年底,我局累计主动公开政府信息124条,全文电子化率达100%。
    在主动公开的信息中,工作动态类信息95条,包括群众文化活动的开展、文化市场管理、文化遗产保护、文化产业发展等,占77%;机构设置类信息7条,包括局班子成员分工、科室职能设置占6%;政策法规类信息6条,包括文化市场法律法规、文物保护法等,占5%;规划计划类信息8条,包括年度工作总结计划等,占6%;统计数据类信息3条,占2%,其他应主动公开的信息5条,占4%。
    (二)公开形式
    在主动公开信息工作中,为方便公众了解信息,我局主要通过三种形式发布政府信息:
    1.在临淄区政府门户网——临淄区政府信息网,网站地址为:http://www.linzi.gov.cn
    2.在临淄区文化局门户网站——临淄文化信息网,网站地址为:http://www.lzwhw.gov.cn
    3.在淄博市文化局门户网站——淄博文化信息网,网站地址为:http://www.zbwh.gov.cn
    另外,通过报纸、电视、广播、杂志等媒体发布部分主动公开的政府信息。
    在便民服务方面,我局按照规范统一的要求,编制了《临淄区文化局政府信息公开指南》、《临淄区文化局政府信息公开目录》及细则、流程等相关制度。
    三、依申请公开政府信息和不予公开政府信息的情况
    2008年度我局未收到任何形式的申请公开信息要求和不予公开信息的要求。
    四、政府信息公开收费及减免情况
    目前,我局暂实行免费提供政府信息公开。
    五、行政复议、诉讼情况
    2008年度我局未接到有关政府信息公开方面的复议、诉讼。
     六、存在主要问题及改进情况
    1、目前政府信息公开工作才刚起步,面向社会宣传力度不够。要利用多种媒体和宣传渠道发布公开信息,提高信息的知晓率,更好地服务社会。
    2、工作机制还不够完善,主动公开的意识还有待进一步加强,还存在信息发布量少等问题。要鼓励广大干部、群众积极参与信息发布的监督,建立长效的监督管理机制。